800-541-4962
503-556-4630

71828 APIARY RD
RAINIER OR 97048

Elbert's Home PageA.R.E. SystemMisc. HardwarePropellersPSS Shaft SealStruts/RuddersToolsOrdering InformationShipping ChargesProduct InstructionsFAQ's

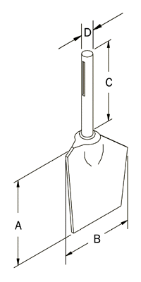
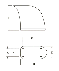
Factory replacement struts, rudder assemblies, and turn fins. Usually the year, make, and model of your boat is enough information for us to send you the correct replacement rudder, strut, or turn fin. However, for certain items we may need the dimensions specified in the following diagrams.
Strut Rudder Fin